變位齒輪
齒輪的齒數少,切齒時齒根會被挖出凹痕,使齒根部變細,這種現象被稱為根切。
作為防止根切的方法,誕生了變位的想法。
變位還可以調節中心距離。

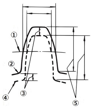
左圖 / 產生了根切的齒輪
右圖 / 未產生根切的齒輪
那么,實際上會是個什么樣子呢 ? 讓我們來試算一下。
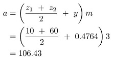
m = 3, z1 = 10, z2 = 60, α = 20°
為了使 z1 = 10 的齒輪不產生根切,將齒輪做 x1 = +0.5 的正變位。
進行如下所示的計算。
(1) 首先,計算嚙合壓力角 α’。
(2) 接下來,讓我們來求中心距離變動系數 y。
(3) 然后求出中心距離 a。
(4) 最后,計算出齒頂圓直徑 da。
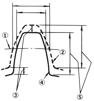
變位齒輪有正變位和負變位。雖然齒高相同,但齒厚不同。
齒厚變厚的為正變位齒輪,齒厚變薄的為負變位齒輪。
負變位 / 齒厚變簿

1. 分度圓
2. 標準齒輪
3. 變位量
4. 變位齒輪
5. 齒高相同
正變位 / 齒厚變厚

1. 分度圓
2. 變位齒輪
3. 變位量
4. 標準齒輪
5. 齒高相同
無法改變兩個齒輪的中心距離時,對小齒輪施加正變位 ( 避免根切 ),大齒輪施加負變位,以使中心距離相同。
這種情況下,變位量的絕對值相等。
標準齒輪是在各個齒輪的分度圓相切狀態下嚙合。而經過變位的齒輪的嚙合,如圖所示,是在嚙合節圓上相切嚙合。
嚙合節圓上的壓力角被稱為嚙合角。
嚙合角與分度圓上的壓力角 ( 分度圓壓力角 ) 不同。
嚙合角是設計變位齒輪時的重要要素。

1. 分度圓
2. 嚙合節圓
特點
- 可以防止在加工時因為齒數少而產生的根切現象。
- 通過變位可以得到所希望的中心距離。
- 在齒數比很大的一對齒輪的情況下 :
對容易產生磨耗的小齒輪施加正變位,使齒厚變厚。相反,對大齒輪施加負變位,使齒厚變薄,以使得兩個齒輪的壽命均等。